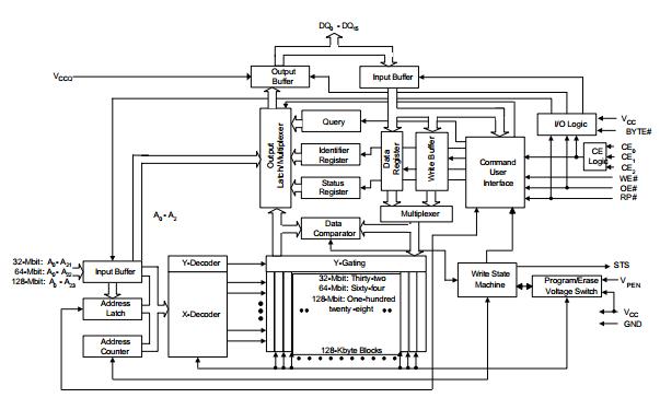
Product Summary
The 28F128J3D75 is an embedded flash memory. It provides improved mainstream performance with enhanced security features, taking advantage of the high quality and reliability of the NOR-based Intel 0.13 µm ETOX VIII process technology. By using the Common Flash Interface (CFI) and Scalable Command Set (SCS), customers can take advantage of density upgrades and optimized write capabilities of future Numonyx Flash Memory devices.
Parametrics
28F128J3D75 absolute maximum ratings: (1)temperature under bias expanded: -40 to 85℃; (2)storage temperature: -65 to 125℃; (3)VCC voltage: -2 to 5.6V; (4)VCCQ: -2 to 5.6V; (5)voltage on any input/output signal: -2 to VCCQ+2V; (6)ISH output short circuit current: 100mA.
Features
28F128J3D75 features: (1)enhanced security options for code protection; (2)high-density symmetrical 128-kbyte blocks; (3)system voltage and power; (4)quality and reliability; (5)program and erase suspend support.
Diagrams

(China (Mainland))






