Product Summary
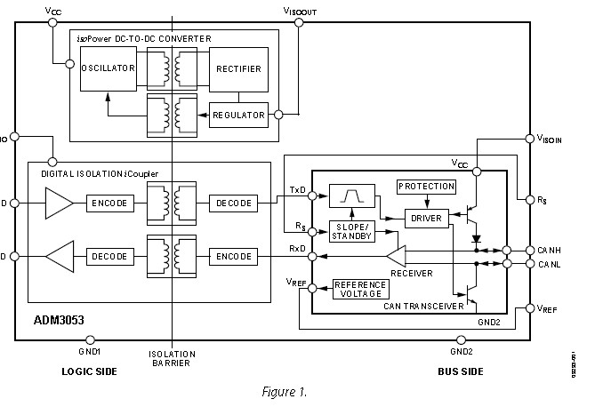
The ADM3053BRWZ is an isolated controller area network (CAN) physical layer transceiver with an integrated isolated dc-to-dc converter. The ADM3053BRWZ complies with the ISO 11898 standard.The ADM3053BRWZ contains isoPower technology that uses high frequency switching elements to transfer power through the transformer. Special care must be taken during printed circuit board (PCB) layout to meet emissions standards.
Parametrics
ADM3053BRWZ absolute maximum ratings: (1)VCC: -0.5 V to +6 V; (2)VIO: -0.5 V to +6 V; (3)Digital Input Voltage, TxD: -0.5 V to VIO + 0.5 V; (4)Digital Output Voltage, RxD: -0.5 V to VIO + 0.5 V; (5)CANH, CANL: -36 V to +36 V; (6)VREF: -0.5 V to +6 V; (7)RS: -0.5 V to +6 V; (8)Operating Temperature Range: -40℃ to +85℃; (9)Storage Temperature Range: -55℃ to +150℃; (10)ESD (Human Body Model): 3 kV; (11)Lead Temperature Soldering (10 sec): 300℃; (12)Vapor Phase (60 sec): 215℃; (13)Infrared (15 sec): 220℃; (14)θJA Thermal Impedance: 53℃/W; (15)TJ Junction Temperature: 130℃.
Features
ADM3053BRWZ features: (1)2.5 kV rms signal and power isolated CAN transceiver isoPower integrated isolated dc-to-dc converter; (2)5 V operation on VCC; (3)5 V or 3.3 V operation on VIO; (4)Complies with ISO 11898 standard; (5)High speed data rates of up to 1 Mbps; (6)Unpowered nodes do not disturb the bus; (7)Connect 110 or more nodes on the bus; (8)Slope control for reduced EMI; (9)Thermal shutdown protection.
Diagrams
-
| Image | Part No | Mfg | Description | ![]() |
Pricing (USD) |
Quantity | ||||||||||||||||
|---|---|---|---|---|---|---|---|---|---|---|---|---|---|---|---|---|---|---|---|---|---|---|
![]() |
![]() ADM3053BRWZ |
![]() |
![]() IC TXRX ISOLATED CAN 20SOIC |
![]() Data Sheet |
![]()
|
|
||||||||||||||||
![]() |
![]() ADM3053BRWZ-REEL7 |
![]() |
![]() IC TXRX ISOLATED CAN 20SOIC |
![]() Data Sheet |
![]()
|
|
||||||||||||||||
(China (Mainland))










