Product Summary
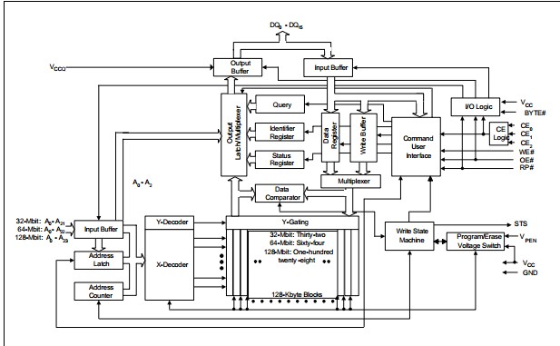
The RC28F128J3D75 provides improved mainstream performance with enhanced security features, taking advantage of the high quality and reliability of process technology. Offered in 128-Mbit (16-Mbyte), 64-Mbit, and 32-Mbit densities, the device brings reliable, low-voltage capability (3 V read, program, and erase) with high speed, low-power operation. The RC28F128J3D75 device takes advantage of the proven manufacturing experience and is ideal for code and data applications where high density and low cost are required, such as in networking, telecommunications, digital set top boxes, audio recording, and digital imaging.
Parametrics
RC28F128J3D75 absolute maximum ratings: (1)Temperature under Bias Expanded (TA, Ambient): –40 to +85°C; (2)Storage Temperature: –65 to +125°C; (3)VCC Voltage: –2.0 to +5.6 V; (4)ISH Output Short Circuit Current: 100 mA.
Features
RC28F128J3D75 features:(1)Architecture: High-density symmetrical 128-Kbyte blocks; (2)Performance: 75 ns Initial Access Speed (128/64/32-Mbit densities); (3)System Voltage and Power: VCC = 2.7 V to 3.6 V; (4)Packaging: 56-Lead TSOP package (32, 64, 128 Mbit only); (5)Security: Enhanced security options for code protection; (6)Software: Program and erase suspend support; (7)Quality and Reliability: Operating temperature: -40°C to +85°C.
Diagrams

| Image | Part No | Mfg | Description | ![]() |
Pricing (USD) |
Quantity | ||||
|---|---|---|---|---|---|---|---|---|---|---|
![]() |
![]() RC28F128J3D75A |
![]() |
![]() IC FLASH 128MBIT 75NS 64EZBGA |
![]() Data Sheet |
![]() Negotiable |
|
||||
![]() |
![]() RC28F128J3D75B |
![]() |
![]() IC FLASH 128MBIT 75NS 64EZBGA |
![]() Data Sheet |
![]() Negotiable |
|
||||
![]() |
![]() RC28F128J3D75D |
![]() |
![]() IC FLASH 128MBIT 75NS 64EZBGA |
![]() Data Sheet |
![]() Negotiable |
|
||||
(China (Mainland))









