Product Summary
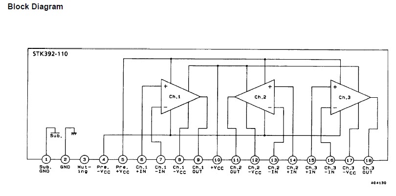
The STK392-110 is a convergence correction circuit IC for video projectors. It incorporates three output amplifiers in a single package, making possible the construction of CRT horizontal and vertical convergence correction output circuits for each of the RGB colors using ust two hybrid ICs. The STK392-110 is used in video projectors.
Parametrics
STK392-110 absolute maximum ratings: (1)Maximum supply voltage: max ±38 V; (2)Maximum collector current: 3.0 A; (3)Thermal resistance: 3.0℃/W; (4)Junction temperature: 150℃; (5)Operating temperature: 125℃; (6)Storage temperature: –30 to +125℃.
Features
STK392-110 features: (1)3 output amplifier circuits in a single package; (2)High maximum supply voltage (VCC max = ±38V); (3)Low thermal resistance (qj-c=3.0℃/W); (4)High temperature stability (TC max=125℃); (5)Separate predriver and output stage supplies; (6)Output stage supply switching for high-performance designs; (7)Low inrush current when power is applied.
Diagrams

| Image | Part No | Mfg | Description |  | Pricing (USD) | Quantity | ||||
|---|---|---|---|---|---|---|---|---|---|---|
|  |  STK392-110 |  Other |  |  Data Sheet |  Negotiable |  | ||||
| Image | Part No | Mfg | Description |  | Pricing (USD) | Quantity | ||||
|  |  STK3042II |  Other |  |  Data Sheet |  Negotiable |  | ||||
|  |  STK3062III |  Other |  |  Data Sheet |  Negotiable |  | ||||
|  |  STK30N2LLH5 |  STMicroelectronics |  MOSFET N-channel 25 V 0.0024 30A Mdmesh |  Data Sheet |  Negotiable |  | ||||
|  |  STK311-010 |  Other |  |  Data Sheet |  Negotiable |  | ||||
|  |  STK311-020 |  Other |  |  Data Sheet |  Negotiable |  | ||||
|  |  STK311-050 |  Other |  |  Data Sheet |  Negotiable |  | ||||
 (China (Mainland))
 (China (Mainland)) 
                         
                        
 
                                    




