Product Summary
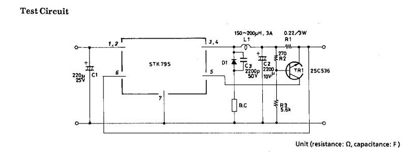
The STK795-513 is a chopper type voltage regulator. The device provides a 5V output power supply circuit with high efficiency.
Parametrics
STK795-513 absolute maximum ratings: (1)maximum DC input voltage:40V; (2)maximum output current:3A; (3)operating case temperature:105℃; (4)junction temperature:150℃; (5)storage temperature:-30℃ to +105℃.
Features
STK795-513 features: (1)self-oscillation type chopper regulator power IC using sanyo original IMST substrate; (2)since the input voltage range is wide, no more than one rectifying/smoothing circuit is required to provide a multi-output power supply circuit which also delivers 12V or 24V output; (3)functional trimming is used to set 5V output with high accuracy; (4)cutoff function to cut off output voltage by external signal; (5)contains a transistor for overcurrent protector(foldback characteristic) and possible to set the protection level externally.
Diagrams

|  |  STK7000 |  Other |  |  Data Sheet |  Negotiable |  | ||||
|  |  STK7002 |  Other |  |  Data Sheet |  Negotiable |  | ||||
|  |  STK7002B |  Other |  |  Data Sheet |  Negotiable |  | ||||
|  |  STK7002U |  Other |  |  Data Sheet |  Negotiable |  | ||||
|  |  STK7006P |  Other |  |  Data Sheet |  Negotiable |  | ||||
|  |  STK730-010 |  Other |  |  Data Sheet |  Negotiable |  | ||||
 (China (Mainland))
 (China (Mainland)) 
                         
                        
 
                                    




