Product Summary
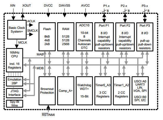
The MSP430F2122IPW is belongs to Texas Instruments MSP430 family of ultra-low-power microcontrollers consists of several devices featuring different sets of peripherals targeted for various applications. The architecture, combined with five low-power modes, is optimized to achieve extended battery life in portable measurement applications. The device features a powerful 16-bit RISC CPU, 16-bit registers, and constant generators that contribute to maximum code efficiency. The digitally controlled oscillator (DCO) allows wake-up from low-power modes to active mode in less than 1μs.
Features
MSP430F2122IPW features: (1)Low Supply-Voltage Range, 1.8 V to 3.6 V; (2)D Ultra-Low Power Consumption; (3)Ultra-Fast Wake-Up From Standby Mode in Less Than 1 μs; (4)16-Bit Timer1_A2 With Two Capture/Compare Registers; (5)Universal Serial Communication Interface; (6)Brownout Detector; (7)On-Chip Emulation Module.
Diagrams

| Image | Part No | Mfg | Description | ![]() |
Pricing (USD) |
Quantity | ||||||||||||
|---|---|---|---|---|---|---|---|---|---|---|---|---|---|---|---|---|---|---|
![]() |
![]() MSP430F2122IPW |
![]() Texas Instruments |
![]() 16-bit Microcontrollers (MCU) 16B Ultra-Lo-Pwr Microcontroller |
![]() Data Sheet |
![]()
|
|
||||||||||||
![]() |
![]() MSP430F2122IPWR |
![]() Texas Instruments |
![]() 16-bit Microcontrollers (MCU) 16B Ultra-Lo-Pwr Microcntrlr |
![]() Data Sheet |
![]()
|
|
||||||||||||
(China (Mainland))









