Product Summary
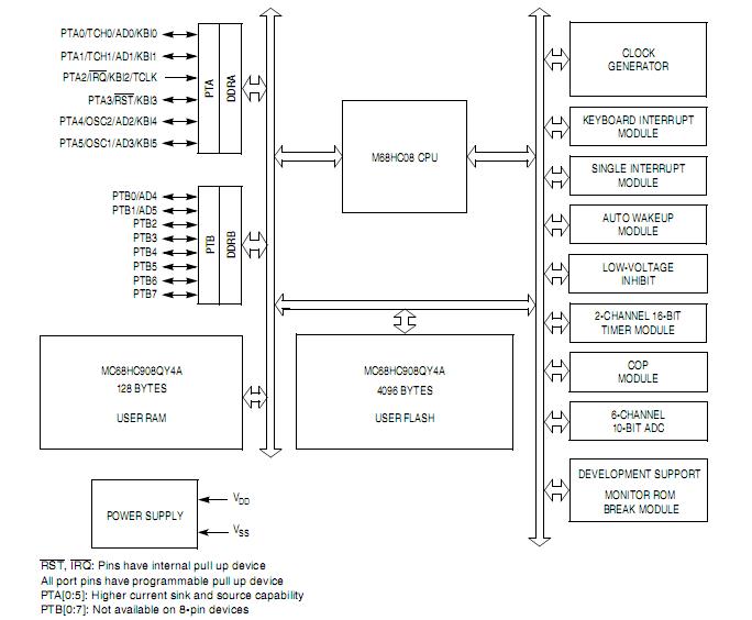
The MC908QY2ACDW is a low-cost, high-performance 8-bit microcontroller unit (MCU). The MC908QY2ACDW uses the enhanced M68HC08 central processor unit (CPU08) and is available with a variety of modules, memory sizes and types, and package types.
Parametrics
MC908QY2ACDW absolute maximum ratings: (1)Supply voltage:–0.3 to +6.0 V; (2)Input voltage:VSS –0.3 to VDD +0.3 V; (3)Mode entry voltage:VSS –0.3 to +9.1 V; (4)Maximum current per pin excluding PTA0–PTA5, VDD, and VSS:±15mA; (5)Maximum current for pins PTA0–PTA5:±25 mA; (6)Storage temperature:–55 to +150℃; (7)Maximum current out of VSS:100 mA; (8)Maximum current into VDD:100 mA.
Features
MC908QY2ACDW features: (1)High-performance M68HC08 CPU core; (2)Fully upward-compatible object code with M68HC05 Family; (3)5-V and 3-V operating voltages (VDD); (4)8-MHz internal bus operation at 5 V, 4-MHz at 3 V; (5)Trimmable internal oscillator; (6)Software selectable crystal oscillator range, 32–100 kHz, 1–8 MHz and 8–32 MHz; (7)Software configurable input clock from either internal or external source; (8)Auto wakeup from STOP capability using dedicated internal 32-kHz RC or bus clock source; (9)On-chip random-access memory (RAM); (10)2-channel, 16-bit timer interface (TIM) module; (11)6-channel, 10-bit analog-to-digital converter (ADC) with internal bandgap reference channel (ADC10); (12)External asynchronous interrupt pin with internal pullup (IRQ) shared with general-purpose input pin; (13)Master asynchronous reset pin with internal pullup (RST) shared with general-purpose input/output (I/O) pin ; (14)Memory mapped I/O registers; (15)Power saving stop and wait modes.
Diagrams

| Image | Part No | Mfg | Description | ![]() |
Pricing (USD) |
Quantity | ||||||||||||
|---|---|---|---|---|---|---|---|---|---|---|---|---|---|---|---|---|---|---|
![]() |
![]() MC908QY2ACDWE |
![]() Freescale Semiconductor |
![]() 8-bit Microcontrollers (MCU) CI 908QY4A SO |
![]() Data Sheet |
![]()
|
|
||||||||||||
![]() |
![]() MC908QY2ACDWER |
![]() Freescale Semiconductor |
![]() 8-bit Microcontrollers (MCU) CI 908QY4A SO |
![]() Data Sheet |
![]()
|
|
||||||||||||
(China (Mainland))









